一、產品介紹
水泥膠砂攪拌機由中國建材科學院水泥所設計,是國家標準“水泥 膠砂強度檢驗方法(ISO法)GB/T 17671-1999”規定的統 一設備,適用于水泥膠砂試件制備時的攪拌,
本機是水泥廠、建筑施工單位、有關專業院校及科研單位水泥試驗室必備的,不可缺少的設備之一。
二、主要技術參數:
1.攪拌葉轉數
三、水泥膠砂攪拌機安全技術操作規程
操作步驟
1.取下攪拌鍋,將攪拌鍋和攪拌葉先用濕布擦濕,把鍋放在固定支座定位孔中,順時針轉動鍋至鎖緊,再搬動手柄使攪拌鍋上升至攪拌工作定位位置,砂罐內裝入ISO標準砂一袋(1350g),把量好的225mL水加入鍋內,在加入450g水泥。
2.立即開動膠砂攪拌機,自動控制程序為:低速攪拌30s后,在第二個30s開始的同時自動均勻地將砂子加入,高速攪拌30s,停拌90s,再高速下繼續攪拌60s后停止轉動工作程序,整個過程240s,然后,搬動手柄使攪拌鍋向下移動,逆時針轉動攪拌鍋至松開位置,取下攪拌鍋。
3.手動:將鈕子開關撥至手動位置,本機即轉動,根據試驗需要,可任意控制低速和高速的轉動時間,
保養及注意事項
1.電器部分絕緣應良好,開始試運轉,觀察機頭是否晃動,葉片與鍋是否有摩擦,有無運轉異常,攪拌時作順時針自動并沿鍋周邊逆時針公轉,待一切正常后方可開始正常試驗。
2.使用完畢應及時切斷電源,細心擦洗干凈攪拌葉及鍋、機器上的殘余砂漿,并涂少量機油以防銹蝕(機械傳動部分每年擦油保養一次)。清除機體及工作臺面上的膠砂及污物,要保持清潔干燥,并記錄本機運轉情況。
3.攪拌葉與鍋底、壁之間的間隙和攪拌時間每使用三個月要自檢一次。
4.使用攪拌鍋時,要輕拿輕放,不可隨意碰撞,以免造成攪拌鍋變形。
四、水泥膠砂攪拌機主要結構及工作原理:
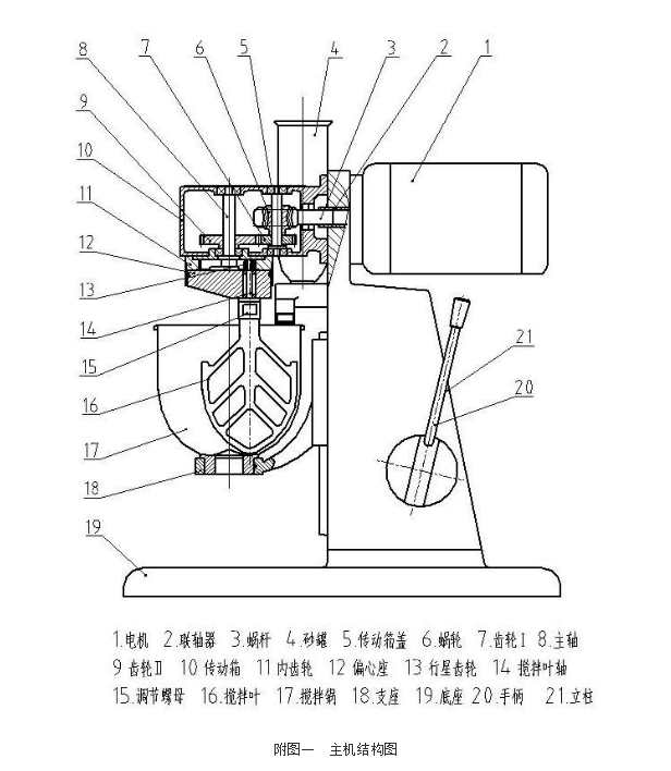
1、 結構:主要有雙速電機、加砂箱、傳動箱、主軸、偏心座、攪拌葉、攪拌鍋、底座、立柱、支座、外罩、程控器等組成。
2、工作原理雙速電動機通過聯軸器將動力傳給傳動箱內的蝸桿再經蝸輪及一對齒輪和傳給主軸并減速。主軸帶動偏心座同步旋轉,使固定在偏心座上的攪拌葉進行公轉。同時攪拌葉通過攪拌葉軸上端的行星齒輪圍繞固定的內齒輪完成自轉運動。攪拌鍋與支座用偏心槽旋轉鎖緊、砂罐內加砂子后,可在規定時間自動加砂或手動加砂,手柄用于升降和定位攪拌鍋位置用。
五、水泥膠砂攪拌機調整與保養
1、 調整:本機出廠前已將攪拌葉與攪拌鍋之間的工作間隙調整到3±1mm范圍。 攪拌葉與攪拌鍋的工作間隙調整,可松開調節螺母轉動攪拌葉使之上下移動,再用檢測桿檢測正確間隙后,再旋緊調節螺母(即可。
2、保養: 應保持工作場地清潔,每次使用后應徹底清除攪拌葉與攪拌鍋內、外殘余砂漿,并清掃散落和飛濺機器上的砂漿及臟污物,揩干后,套上護罩,防止灰塵。本機無外部加油孔。傳動箱內蝸輪付、齒輪付及軸承等運動部件每季加黃油一次,加油時,打開上箱蓋,再打開傳動箱蓋即可,支座與立柱導軌之間,升降機構之間應經常滴入機油潤滑,每年保養一次,將本機全部清洗并加注潤滑油和潤滑脂。機器運轉時遇有金屬撞擊噪聲,應首先檢查攪拌葉與攪拌鍋之間的間隙是否正確。使用攪拌鍋時,要輕拿輕放,不可隨意碰撞,以免造成攪拌鍋變形。應經常檢查電氣絕緣情況,在溫度20℃±5℃相對濕度50%~70%時的冷態絕緣電阻≥5MΩ。
六、水泥膠砂攪拌機起吊與安裝
1、本機不設起吊裝置,人工搬運即可。
2、本機安裝只需將主機放在平整的水泥平臺上,并在底面墊上一層厚5~8mm橡膠板。
七、水泥膠砂攪拌機主機結構圖

北京宏達路業商貿有限公司,建廠二十多年,生產上百萬臺試驗設備,鑄就一流質量,低廉的價格,優秀的服務。
北京宏達路業公司-原創技術文章-未經許可不得轉載。
地址:北京市豐臺區總部基地園區
聯系電話:010-83623985
本文網址:http://www.bzhyzy.cn/show.asp?id=106

